Artificial Intelligence can be a beautiful thing, especially when it comes to your logo. Just like the development of AI logo design has grown, so has logo recognition software. With solid logo recognition software, you can see where your logo is popping up on social media, television or elsewhere, how consumers are responding to or interacting with it, and if there are any nefarious or counterfeit uses of your logo in play.
What is logo recognition? Logo recognition tools allow you to detect where your logo appears on the internet. Logo recognition is a must-have for any brand with a unique logo. Keep reading to see how it can benefit your company.
What is logo recognition used for?
There are many ways to use logo recognition software, so for simplicity’s sake, we’ve distilled them into three main categories.
Brand recognition
Logo recognition is a great way to figure out how often your brand is appearing online. With today’s sophisticated algorithms, logo recognition software can see how often your brand is being mentioned across social media platforms.
This sort of software can also show when your brand is being used in the real world. For example, if you have a banner promoting your company at a baseball stadium, logo recognition software can tell how often the logo appears on television when a game is being broadcast. That way, you’ll know if your advertisement is in a prime spot so the viewers at home can see what you’re all about.
Counterfeit detection/brand protection
The second way that logo recognition is used is for more nefarious situations. Sometimes, with both big brands and new or small businesses, people use logos in counterfeit or illegitimate ways. They could be making bootleg products and ripping off your company’s logo. A well-known fashion company like Supreme often sees its logo used on bootleg products. After designing your logo with the best logo design software, you’ll want to make sure that no one has taken or reused your idea.
Logo recognition software lets a company find these kinds of products and handle the situation appropriately.
Sometimes people produce harmful content about a brand online. They could be spreading false information about your company or using your logo with a social media post that has inappropriate content or just doesn’t align with your message. Logo recognition is a great way to root out these situations and take care of them.
Understanding the user experience
How exactly are people reacting to your brand? Online and real-world reviews are one thing, but logo recognition software lets a company see what consumers really think about its product or service by checking social media posts, blog articles and other mentions of a brand.
This is great for measuring return on investment (ROI), as a company can assess whether its marketing efforts are bearing any fruit. If a company is promoting its product as one thing, and people are seeing it as another, it could be wise to reevaluate the marketing plan.
The best logo recognition tools
Here are some of the best logo recognition tools and image recognition software—and what they’re all about.
1. Google Image Recognition
Google has a free service that lets you search the internet for appearances of your logo. It’s incredibly easy to use and free, but it doesn’t have any of the additional feature—insight and analytics—that would support the needs of a robust company.

That’s where Google’s Vision AI comes into play. A paid service, Vision AI uses machine learning to help companies understand how their brand is being perceived by users. It can process large batches of images for your type of logo and detect unwanted content—all backed by the intelligent machine learning of Google.
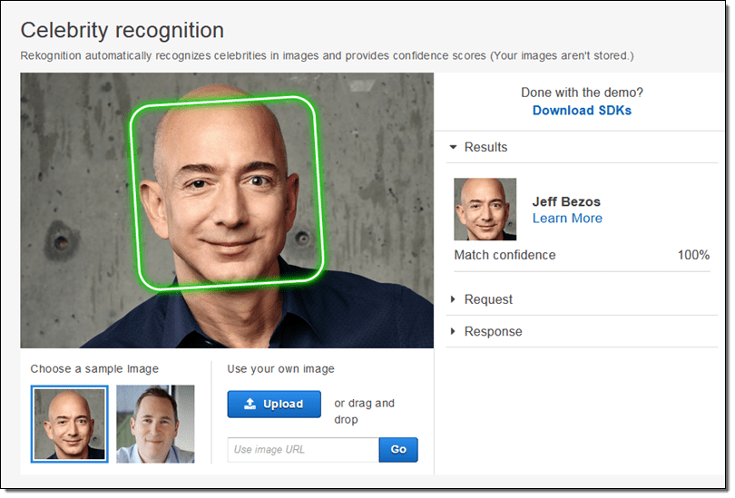
2. Amazon Rekognition

Amazon Rekognition is an incredibly comprehensive logo recognition program that can deeply analyze both images and video. The level of insight that this software can return is impressive, letting you run real-time analysis on images and videos or, for larger jobs, upload thousands of images in a batch to be analyzed. The service can recognize faces, detect certain aspects of a photo (rock, bicycle, landscape) and recognize unsafe content.
3. VISUA (formerly known as LogoGrab)

VISUA (formally known as LogoGrab) prides itself on prioritizing social media presence. It’s a service developed by ex-Google employees that has been used by companies like eBay, Bloomberg and Brandwatch to see how their logos are used on social media platforms and elsewhere. With its patented Adaptive Learning Engine, VISUA helps brands get the most ROI on their marketing efforts.
4. Clarifai

With Clarifai, companies can automatically generate descriptive tags for their products and images, find behavior patterns with their logo, and let their customers take a photo of their product with their mobile device and search for a similar product online. It’s been used by organizations such as Staples, Photobucket, and Vevo and is another great option that offers a free API of its own.
5. IBM Image Detection

IBM has some of the best image recognition tools on the market and is a true powerhouse in the game, thanks to the strength of their well-known AI, Watson. Companies can train their own custom model that, with just a few images, can learn a specific brand of a car, for example, and identify that model and estimate repair costs. Watson Studio is a free workspace that IBM offers that lets brands manage their own models. No matter what you’re looking for, it’s hard to go wrong with a legacy brand like IBM.
Logo recognition is a useful tool in your toolbox
There are a lot of different logo recognition software options—more than the ones we listed above. As many of them offer the same services, it’s up to you to find the product that offers exactly what you’re looking for. If you’re serious about your brand’s legitimacy, logo recognition software is a great way to make sure you’re getting the ROI you want. Why wait?
Want more logo design tips? Learn how to design a logo and how to pick the best colors for your logo.
Author: Logan Connor
